- НаличиеВ наличии
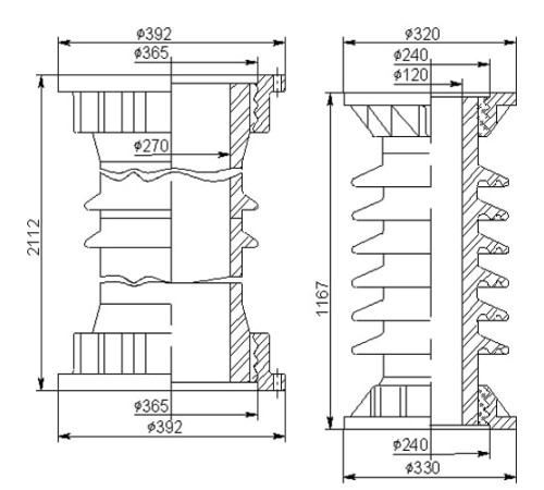
Армированные покрышки ПВМО предназначены для надёжной изоляции токоведущих частей маломасляных выключателей на напряжение 35 и 110 кВ. Они обеспечивают безопасную эксплуатацию высоковольтного оборудования в электроустановках.
Изделия эффективно защищают от пробоя и короткого замыкания, повышая общую надёжность и бесперебойность работы энергосистем. Их использование значительно продлевает срок службы дорогостоящего коммутационного оборудования.
Покрышки соответствуют строгим требованиям ГОСТ (20419-83, 20419-84, 20419-85, 20419-86) и ТУ, что гарантирует высочайшее качество и электроизоляционные характеристики. Доступны различные варианты по длине пути утечки (105, 285 мм) и рабочему давлению (1,0; 3,8 МПа).
Мы предлагаем широкий выбор марок: ПВМг-110Б, ПВМг-35-Б 01, ПВМо-110Б-1 0, ПВМо-110Б-2 0, ПВМо-110Б-3 0, ПВМо-35-Б 01. Это позволяет подобрать оптимальное решение для конкретных технических условий вашего проекта.
Нет отзывов об этом товаре.
Пока нет вопросов об этом товаре. Станьте первым!
